為方便游客的西藏日喀則出行,提供日喀則歷年的3月天氣預報數據供用戶參考,包括日喀則3月份的最高氣溫,最低氣溫,白天和晚上溫度,天氣狀況,及3月整月的風力風向。
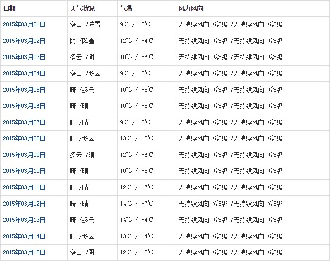
日喀則3月天氣預報統計表:


日喀則3月氣溫趨勢圖:

日喀則3月氣溫及晴雨表統計:

以上是日喀則3月份的天氣預報明細,含每日天氣溫度,3月當月氣溫趨勢圖,及3月氣溫和天氣統計表。>>相關閱讀:日喀則天氣預報(未來3、7、15天)
日喀則3月份天氣概況:
日喀則三月溫度是-12℃ ~ 20℃,3月份去日喀則天氣還是比較冷的,要帶羽絨服注意保暖,另外需要注意的是3月份高原含氧量比夏天低,紫外線很強,注意防曬。氣溫在緩緩的回升,但是晝夜的溫差還是很大,中午的時候可以穿一件外套,到了夜晚就要蓋上厚厚的棉被了。
三月份穿衣指南:
3月份去日喀則需要穿著厚實的冬裝,保暖內衣加毛衣是必要的,外套要選擇防風保暖的,墨鏡用來防曬,帽子用來防風,怕冷的女士也記得帶上保暖舒適的圍巾。
白天平均 20℃ 建議穿單層棉麻面料的短套裝、T恤衫、薄牛仔衫褲、休閑服、職業套裝等舒適的衣服。
夜間平均 -12℃ 建議穿棉衣、冬大衣、皮夾克、厚呢外套、呢帽、手套、羽絨服、裘皮大衣等厚重保暖衣服。
三月份日喀則游攻略:
3月份從拉薩去日喀則的游客較少,因為林芝的桃花節,3月份進藏游客的旅行線路基本是拉薩-林芝-山南一線,加上拉薩到羊卓雍錯與拉薩到納木錯的當日往返線路。雖然3月去日喀則旅游的游客不多,但3月的日喀則仍然值得一去。作為后藏中心,這里有享譽世界的扎什倫布寺,寺內的壁畫和雕塑等極富藝術價值的作品僅次于布達拉宮,愛好藝術與歷史的朋友到了西藏旅游一定不要錯過扎什倫布寺。3月日喀則天氣較冷,晝夜溫差大,作為去往珠峰大本營的必經之地,日喀則是一個很好的中轉城市。
日喀則的珠穆朗瑪峰是所有人都知道的,是“世界第一高峰”,日喀則市有珠穆朗瑪峰為首的冰峰雪山、原始森林帶,神山、圣湖、草原、名寺古剎。 從拉薩沿雅魯藏布江溯流而上,沿途有西藏三大圣湖之一的羊卓雍湖,扎什倫布寺則是日喀則的象征,寺院依山而筑,是歷代班禪的駐錫地;江孜的白居寺擁有眾多佛塔,被譽為“西藏塔王”,寺內的壁畫總觀結構連貫,局部看自成一體,白居寺和薩迦寺都是西藏的宗教中心;在日喀則市還有宗山抗英遺址。
三月份去日喀則注意事項:
西藏的冬天氣候比較干燥,冬天去西藏需要做好皮膚的保濕工作,建議帶上唇膏、護手霜、潤膚油、面霜等護膚品,到了西藏建議多喝水多吃水果。冬天來西藏,不需要像在內地那樣天天洗澡,天天洗澡不但容易感冒,而且洗完澡皮膚更顯干燥,所以一洗完澡建議你就涂上保濕霜等潤膚用品。其實在西藏就算幾天不洗澡還是會覺得比較干爽。
冬天來西藏,主題之一就是曬太陽。但是大家在外享受溫暖的陽光時也要注意防曬,進藏前建議帶上防曬霜、太陽鏡、帽子等防曬用品,這樣就可以放心地享受西藏溫暖的陽光了。
冬天的西藏含氧量比夏季更少,冬天進藏發生高反的概率實際比夏季更高點,我們要做好抗高反工作(其實無論什么時候進藏抗高反工作都是不容忽視的)。進藏前的十天半個月可以提前喝些紅景天,出現高反時可以服用高原安。紅景天的作用主要是預防高原反應,高原安的作用主要是治療高原反應。
日喀則最佳旅游時間
日喀則被成為后藏,是除拉薩外西藏又一政治文化中心,最佳旅游季節是在6-10月,這個季節,可以看到后藏草原的壯闊和美麗,其中,金秋10月的日喀則別有一番秋色,滿地金黃的顏色,日喀則——神圣的美麗說的正是日喀則迷人的秋色,10月,也應該是日喀則的最佳旅游季節。



